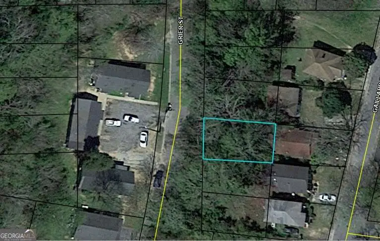
373 Grier Street, Macon, GA 31204

Local realty services provided by:Better Homes and Gardens Real Estate Metro Brokers
373 Grier Street,Macon, GA 31204
$10,000
  • 0.07 Acres
  • Lots / Land
  • Active
Listed by: marjory cesar
Office: keller williams realty atl north
MLS#:7742208
Source:FIRSTMLS

Price summary

  • Price:$10,000

About this home

Great opportunity to build in an established Macon neighborhood! This 0.07-acre (3,049 sq ft) residential lot offers a convenient location just minutes from downtown Macon, with easy access to shopping, dining, schools, and major roadways. Located in the Pleasant Hill Historic District area, this property is ideal for new construction or investment. No HOA.

Contact an agent

contact an agent

Yes, I would like more information. Please use and/or share my information with a BHGRE®  affiliated agent to contact me about my real estate needs. By clicking Send message, I request to be contacted by phone or text message and consent to being contacted by automated means. I understand that my consent to receive calls or texts is not a condition of purchasing any property, goods, or services. Alternatively, I understand that I can access real estate services by email or I can contact the agent myself.

If a BHGRE®  affiliated agent is not available in the area where I need assistance, I agree to be contacted by a real estate agent affiliated with another brand owned or licensed by Anywhere Real Estate (CENTURY 21® , Coldwell Banker® , Corcoran® , ERA® , Sotheby's International Realty® ).
 I acknowledge that I have read and agree to theTerms of useandPrivacy notice

Home facts

  • Listing ID #:7742208
  • Updated:May 14, 2026 at 01:25 PM

Structure and exterior

  • Lot area:0.07 Acres

Schools

  • High school:Central - Bibb
  • Middle school:Miller Magnet
  • Elementary school:Williams - Bibb

Finances and disclosures

  • Price:$10,000
  • Tax amount:$31 (2025)
MLS LogoListings identified with the FMLS IDX logo come from FMLS and are held by brokerage firms other than the owner of this website. The listing brokerage is identified in any listing details. Information is deemed reliable but is not guaranteed. If you believe any FMLS listing contains material that infringes your copyrighted work please click here (https://www.fmls.com/dmca) to review our DMCA policy and learn how to submit a takedown request. ©2026 First Multiple Listing Service, Inc.