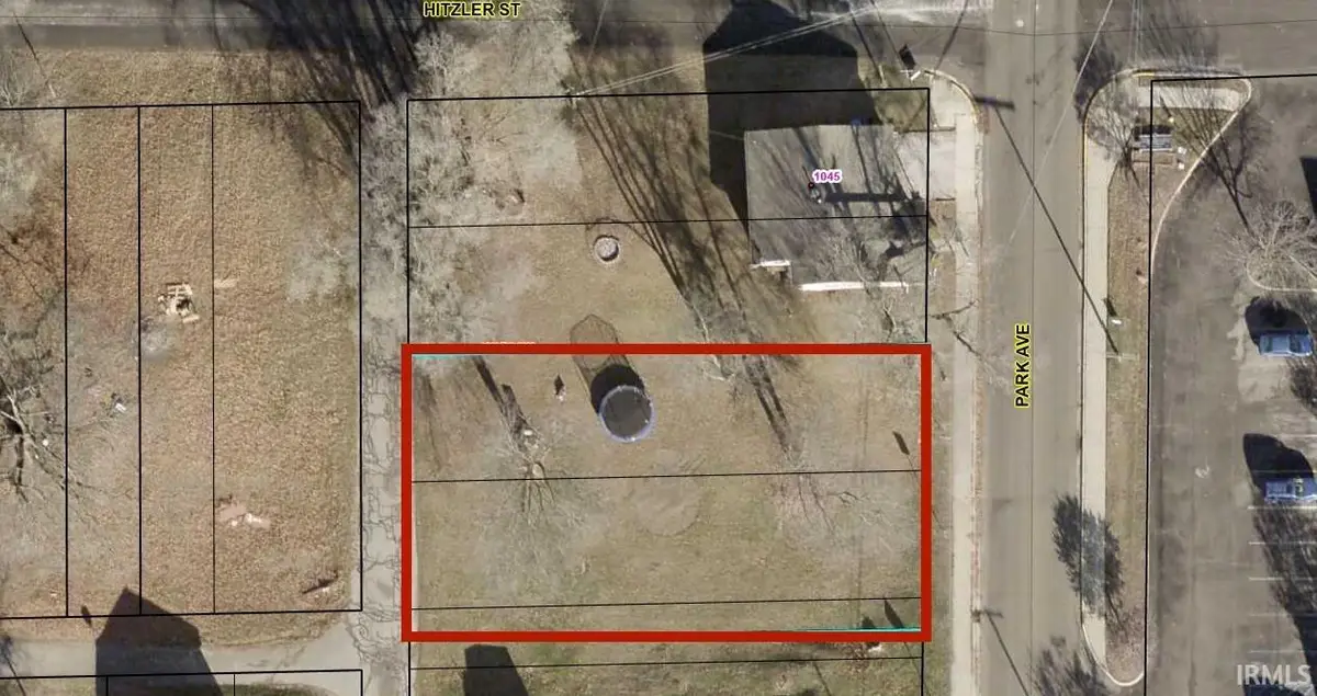
TBD Park Avenue, Warsaw, IN 46580

Local realty services provided by:Better Homes and Gardens Real Estate Connections
TBD Park Avenue,Warsaw, IN 46580
$17,000
  • 0.21 Acres
  • Lots / Land
  • Active
Listed by: savannah lopez
Office: the gingerich group
MLS#:202604243
Source:Indiana Regional MLS

Price summary

  • Price:$17,000

About this home

Rare opportunity to own a double city lot in Warsaw. This 0.21 acre parcel offers flexibility and potential in a convenient in town location. Whether you are looking to build, expand your yard, add a garage or pole building, or invest in land for the future, this property provides plenty of possibilities. With city utilities available and established homes surrounding the lot, it is an ideal setting for your next project. Purchase on its own or combine with the neighboring home for additional space and long term value (MLS 2026648869)

Contact an agent

contact an agent

Yes, I would like more information. Please use and/or share my information with a BHGRE®  affiliated agent to contact me about my real estate needs. By clicking Send message, I request to be contacted by phone or text message and consent to being contacted by automated means. I understand that my consent to receive calls or texts is not a condition of purchasing any property, goods, or services. Alternatively, I understand that I can access real estate services by email or I can contact the agent myself.

If a BHGRE®  affiliated agent is not available in the area where I need assistance, I agree to be contacted by a real estate agent affiliated with another brand owned or licensed by Anywhere Real Estate (CENTURY 21® , Coldwell Banker® , Corcoran® , ERA® , Sotheby's International Realty® ).
 I acknowledge that I have read and agree to theTerms of useandPrivacy notice

Home facts

  • Listing ID #:202604243
  • Added:1 day(s) ago
  • Updated:February 12, 2026 at 03:45 AM

Structure and exterior

  • Lot area:0.21 Acres

Schools

  • High school:Warsaw
  • Middle school:Lakeview
  • Elementary school:Lincoln

Utilities

  • Water:Available, City
  • Sewer:City

Finances and disclosures

  • Price:$17,000
  • Tax amount:$362
IRMLS information is provided exclusively for consumers' personal, non-commercial use and may not be used for any purpose other than to identify prospective properties consumers may be interested in purchasing. IRMLS Data is deemed reliable but is not guaranteed accurate by the MLS. IRMLS information provided by the Indiana Regional MLS. Copyright 2026 Indiana Regional MLS LLC.